AutoScaler设计文档

背景

Kubernetes服务简化了K8S集群的创建、升级和手动扩缩容。然而使用Kubernetes集群经常问到的一个问题是,我应该保持多大的节点规模来满足应用需求呢? Autoscaler的出现解决了这个问题,它可以自动的根据部署的应用所请求的资源量来动态的伸缩集群

名词解释

cluster-autoscaler (简称CA)是用来弹性伸缩kubernetes集群的。我们在使用kubernetes集群经常问到的一个问题是,我应该保持多大的节点规模来满足应用需求呢? cluster-autoscaler的出现解决了这个问题,它可以自动的根据部署的应用所请求的资源量来动态的伸缩集群。

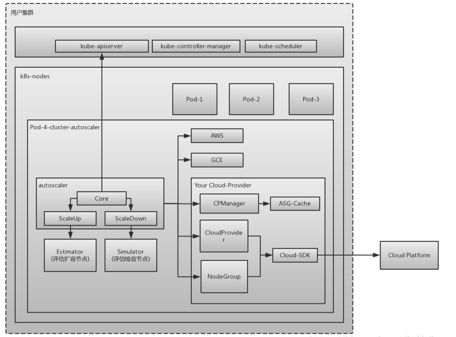
架构

  • Autoscaler:核心模块,负责整体扩缩容功能
  • Estimator:负责评估计算扩容节点
  • Simulator:负责模拟调度,计算缩容节点
  • CA Cloud-Provider:与云交互进行节点的增删操作。社区目前仅支持AWS和GCE,其他云厂商需要自己实现CloudProvider和NodeGroup相关接口。

CA的架构如下图所示:

架构

设计思路

实现流程设计

设计

  1. 用户登陆创建自动伸缩集群
  2. 创建kubernetes集群成功后,调用伸缩组的OpenAPI,创建启动配置
  3. 创建自动伸缩组
  4. 启用自动伸缩组
  5. 集群节点绑定伸缩组
  6. 创建集群自动伸缩的Deployment(CA)
  7. CA根据Pending Pod数伸缩节点

实现

实现CloudProvider和NodeGroup相关接口

1
2
3
4
5
6
7
8
9
10
11
12
13
14
15
16
17
18
19
20
21
22
23
24
25
26
27
28
29
30
31
32
33
34
35
36
type CloudProvider interface {
// Name returns name of the cloud provider.
Name() string

// NodeGroups returns all node groups configured for this cloud provider.
NodeGroups() []NodeGroup

// NodeGroupForNode returns the node group for the given node, nil if the node
// should not be processed by cluster autoscaler, or non-nil error if such
// occurred. Must be implemented.
NodeGroupForNode(*apiv1.Node) (NodeGroup, error)

// Pricing returns pricing model for this cloud provider or error if not available.
// Implementation optional.
Pricing() (PricingModel, errors.AutoscalerError)

// GetAvailableMachineTypes get all machine types that can be requested from the cloud provider.
// Implementation optional.
GetAvailableMachineTypes() ([]string, error)

// NewNodeGroup builds a theoretical node group based on the node definition provided. The node group is not automatically
// created on the cloud provider side. The node group is not returned by NodeGroups() until it is created.
// Implementation optional.
NewNodeGroup(machineType string, labels map[string]string, systemLabels map[string]string,
taints []apiv1.Taint, extraResources map[string]resource.Quantity) (NodeGroup, error)

// GetResourceLimiter returns struct containing limits (max, min) for resources (cores, memory etc.).
GetResourceLimiter() (*ResourceLimiter, error)

// Cleanup cleans up open resources before the cloud provider is destroyed, i.e. go routines etc.
Cleanup() error

// Refresh is called before every main loop and can be used to dynamically update cloud provider state.
// In particular the list of node groups returned by NodeGroups can change as a result of CloudProvider.Refresh().
Refresh() error
}
1
2
3
4
5
6
7
8
9
10
11
12
13
14
15
16
17
18
19
20
21
22
23
24
25
26
27
28
29
30
31
32
33
34
35
36
37
38
39
40
41
42
43
44
45
46
47
48
49
50
51
52
53
54
55
56
57
58
59
60
61
62
63
type NodeGroup interface {
// MaxSize returns maximum size of the node group.
MaxSize() int

// MinSize returns minimum size of the node group.
MinSize() int

// TargetSize returns the current target size of the node group. It is possible that the
// number of nodes in Kubernetes is different at the moment but should be equal
// to Size() once everything stabilizes (new nodes finish startup and registration or
// removed nodes are deleted completely). Implementation required.
TargetSize() (int, error)

// IncreaseSize increases the size of the node group. To delete a node you need
// to explicitly name it and use DeleteNode. This function should wait until
// node group size is updated. Implementation required.
IncreaseSize(delta int) error

// DeleteNodes deletes nodes from this node group. Error is returned either on
// failure or if the given node doesn't belong to this node group. This function
// should wait until node group size is updated. Implementation required.
DeleteNodes([]*apiv1.Node) error

// DecreaseTargetSize decreases the target size of the node group. This function
// doesn't permit to delete any existing node and can be used only to reduce the
// request for new nodes that have not been yet fulfilled. Delta should be negative.
// It is assumed that cloud provider will not delete the existing nodes when there
// is an option to just decrease the target. Implementation required.
DecreaseTargetSize(delta int) error

// Id returns an unique identifier of the node group.
Id() string

// Debug returns a string containing all information regarding this node group.
Debug() string

// Nodes returns a list of all nodes that belong to this node group.
Nodes() ([]string, error)

// TemplateNodeInfo returns a schedulercache.NodeInfo structure of an empty
// (as if just started) node. This will be used in scale-up simulations to
// predict what would a new node look like if a node group was expanded. The returned
// NodeInfo is expected to have a fully populated Node object, with all of the labels,
// capacity and allocatable information as well as all pods that are started on
// the node by default, using manifest (most likely only kube-proxy). Implementation optional.
TemplateNodeInfo() (*schedulercache.NodeInfo, error)

// Exist checks if the node group really exists on the cloud provider side. Allows to tell the
// theoretical node group from the real one. Implementation required.
Exist() bool

// Create creates the node group on the cloud provider side. Implementation optional.
Create() error

// Delete deletes the node group on the cloud provider side.
// This will be executed only for autoprovisioned node groups, once their size drops to 0.
// Implementation optional.
Delete() error

// Autoprovisioned returns true if the node group is autoprovisioned. An autoprovisioned group
// was created by CA and can be deleted when scaled to 0.
Autoprovisioned() bool
}

CA功能接口

创建CA

1
2
3
4
5
6
7
8
9
10
11
12
13
14
15
16
17
18
19
20
21
22
23
24
25
26
27
28
29
30
31
32
33
apiVersion: extensions/v1beta1
kind: Deployment
metadata:
name: cluster-autoscaler
namespace: kube-system
labels:
app: cluster-autoscaler
spec:
replicas: 1
selector:
matchLabels:
app: cluster-autoscaler
template:
metadata:
labels:
app: cluster-autoscaler
spec:
serviceAccountName: admin
containers:
- image: hub.kce.ksyun.com/ksyun/cluster-autoscaler:v1.1.0
name: cluster-autoscaler
resources:
requests:
cpu: 100m
memory: 300Mi
command:
- ./cluster-autoscaler
- --v=4
- --stderrthreshold=info
- --cloud-provider=alicloud
- --skip-nodes-with-local-storage=false
- --nodes=${MIN}:${MAX}:${AUTO_SCALER_GROUP}
- --nodes=${MIN2}:${MAX2}:${AUTO_SCALER_GROUP2}

参数 ${MIN}: ${MAX}: ${AUTO_SCALER_GROUP}

  • MIN: 伸缩组节点最小值
  • MAX: 伸缩组节点最大值
  • AUTO_SCALER_GROUP: 伸缩组ID

修改CA

1
2
3
4
5
6
7
8
9
10
11
12
13
14
15
16
17
18
19
20
21
22
23
24
25
26
27
28
29
30
31
32
33
apiVersion: extensions/v1beta1
kind: Deployment
metadata:
name: cluster-autoscaler
namespace: kube-system
labels:
app: cluster-autoscaler
spec:
replicas: 1
selector:
matchLabels:
app: cluster-autoscaler
template:
metadata:
labels:
app: cluster-autoscaler
spec:
serviceAccountName: admin
containers:
- image: hub.kce.ksyun.com/ksyun/cluster-autoscaler:v1.1.0
name: cluster-autoscaler
resources:
requests:
cpu: 100m
memory: 300Mi
command:
- ./cluster-autoscaler
- --v=4
- --stderrthreshold=info
- --cloud-provider=alicloud
- --skip-nodes-with-local-storage=false
- --nodes=1:100:${AUTO_SCALER_GROUP}
- --nodes=1:3:${AUTO_SCALER_GROUP2}

参数:${MIN}:${MAX}:${AUTO_SCALER_GROUP}

  • MIN: 伸缩组节点最小值
  • MAX: 伸缩组节点最大值
  • AUTO_SCALER_GROUP: 伸缩组ID

删除CA

1
2
3
4
5
6
7
8
9
10
11
12
13
14
15
16
17
18
19
20
21
22
23
24
25
26
27
28
29
30
31
apiVersion: extensions/v1beta1
kind: Deployment
metadata:
name: cluster-autoscaler
namespace: kube-system
labels:
app: cluster-autoscaler
spec:
replicas: 1
selector:
matchLabels:
app: cluster-autoscaler
template:
metadata:
labels:
app: cluster-autoscaler
spec:
serviceAccountName: admin
containers:
- image: hub.kce.ksyun.com/ksyun/cluster-autoscaler:v1.1.0
name: cluster-autoscaler
resources:
requests:
cpu: 100m
memory: 300Mi
command:
- ./cluster-autoscaler
- --v=4
- --stderrthreshold=info
- --cloud-provider=alicloud
- --skip-nodes-with-local-storage=false